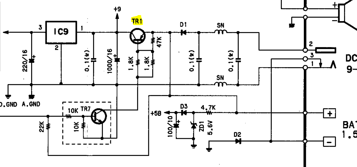
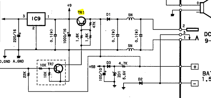
Hello, I bought this used Yamaha synth, and it doesn’t work right. When I power it on you can hear the speaker activate, but nothing else is working (No power light, no buttons or keys are responding). I opened it and saw that someone in the past changed what I assume is the power regulator transistor with an S8050. My question is: What is the original transistor that is supposed to be in here? You can obviously see the s8050 is not supposed to be here looking at the illustration on the board. I have a suspicion that a 7805 volt regulator is supposed to be in there, because I’ve worked on Nintendo entertainment system clones where they cheaped out by putting an s8050 on board instead of it. I’m really not sure though, so soldering it will probably be the last resort if I don’t find a concrete answer. If anybody knows, thanks in advance!
I’m new so I can only upload 1 picture, sorry… You can see what the keyboard looks like searching “Yamaha PortaSound PSS-370”.

